拆卸John Deere約翰迪爾強鹿柴油發動機平衡軸(如果配備-四缸John Deere約翰迪爾強鹿柴油發動機)
1. 拆卸正時齒輪,如果配備的話。(配備 VP44 或DE10 噴油泵的雙氣門John Deere約翰迪爾強鹿柴油發動機及所有四氣門John Deere約翰迪爾強鹿柴油發動機,參見第 040 章“拆卸和安裝凸輪軸正時齒輪”部分。)
注意: 平衡軸可安裝固定配重,也可安裝一個或兩個帶帽螺釘固定的拆卸式配重。
2. 拆卸下惰輪和油泵齒輪(圖中所示為拆卸后的情況)。
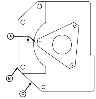
3. 在裝有可拆卸配重 1 (A) 的新式John Deere約翰迪爾強鹿柴油發動機上,必須拆下配重后才能拆卸平衡軸。
4. 如圖所示,拆下平衡軸止推板的帶帽螺釘。
A – 配重
B – 帶帽螺


重要提示: 為了正確安裝,請標記左右平衡軸位置。在平衡軸后面作一個永久性標記字母“R”(右)或 “L”(左)加以區別。平衡軸換位會造成平衡軸和襯套過早磨損。
注意: 拆卸平衡軸時,當心不要造成缸體內平衡軸軸頸和襯套損壞。
5. 拆下平衡軸。

檢查和測量John Deere約翰迪爾強鹿柴油發動機平衡軸襯套和軸頸
1. 在所有位置檢查、測量并記錄平衡軸襯套內徑 (A)。
2. 測量平衡軸軸頸外徑 (B)。平衡軸軸頸外徑和襯套內徑之差即為油隙。
如果油隙不符合技術規格的要求,應安裝新襯套,必要時更換新的平衡軸。
技術規格
平衡軸襯套(新)-內徑 40.177 - 40.237 毫米(1.5818 - 1.5841 英寸)
平衡軸軸頸-外徑. . . . . 40.135 - 40.161 毫米(1.5801 - 1.5811 英寸)
平衡軸軸頸到襯套-油隙. . . 0.016 - 0.102 毫米(0.0006 - 0.0040 英寸)
平衡軸襯套缸體孔-內徑. 43.262 - 43.288 毫米(1.7032 - 1.7042 英寸)
A – 襯套內徑
B – 軸頸外徑

拆卸和安裝平衡軸襯套
重要提示: John Deere約翰迪爾強鹿柴油發動機配備平衡軸與否都需要使用平衡軸襯套。
新式無平衡軸John Deere約翰迪爾強鹿柴油發動機可能采用不帶油孔的半成品襯套。用成品襯套更換時,可旋轉襯套,蓋住缸體內的油孔。更換平衡軸襯套時必須拆除缸體前板。
1. 拆下噴油泵或旋轉式泵的所有油管。
2. 拆卸前板。(請參閱本章后面的“拆卸缸體前板”部分。)
注意: 半成品襯套用 JD249 (JD-249) 平衡軸襯套拆裝器即可拆卸。
3. 用 JD249 (JD-249)1 平衡軸襯套拆裝器和 JDG963 轉接器從缸體上拆卸襯套。若拆卸后襯套(第三個),必須拆卸飛輪外殼。
重要提示: 裝有平衡軸的John Deere約翰迪爾強鹿柴油發動機,襯套與缸體的油孔一定要對齊,以便襯套和軸頸能得到很好的潤滑。未裝平衡軸的John Deere約翰迪爾強鹿柴油發動機,襯套一定要轉 90°蓋住缸體油孔。
4. 用干凈的機油潤滑襯套,用拆卸襯套時所用的同樣工具將襯套裝入缸體。

5. 裝有平衡軸的John Deere約翰迪爾強鹿柴油發動機,裝入平衡軸后檢查襯套與平衡軸的油隙。如果用手稍稍用力即可推動平衡軸轉動,表明襯套與平衡軸之間有足夠的油隙。不必打磨襯套來滿足技術規格對油隙的要求。油隙過大會造成平衡軸卡住。
拆卸John Deere約翰迪爾強鹿柴油發動機缸體前板
必須首先拆下以下部件,然后拆卸John Deere約翰迪爾強鹿柴油發動機前板。
• 正時齒輪蓋。(參見本章中的“卸下正時齒輪室蓋”部分。)
• 正時輪(配備 VP44 或 DE10 噴油泵的雙氣門John Deere約翰迪爾強鹿柴油發動機及所有四氣門John Deere約翰迪爾強鹿柴油發動機,參見第 040 章“拆卸和安裝曲軸正時齒輪”部分。)
• 凸輪軸和齒輪 (A)。(參見本章“拆卸凸輪軸”部分。)
• 噴油泵驅動齒輪 (B) 和噴油泵。參見 CTM217 (機械燃油系統)、CTM179 (4 級電子燃油系統)、CTM341 (12 級電子燃油系統)、CTM284 (1 級電子燃油系統)(只有英文版)或 CTM230 (配 Denso高壓共軌的 11 級電子燃油系統)第 02 部分第 090 章。
• 機油泵驅動齒輪 (C) 和機油泵。(請參閱 060 章的“拆卸機油泵”部分。)
• 惰輪 (D)
• 平衡軸 (E)1 (參見本章“拆卸平衡軸”部分。)
• 油壓調節閥,如果安裝立式油壓調節閥的話。(參見第060 章“拆卸和安裝油壓調節閥”部分。)
A – 凸輪軸和齒輪
B – 噴油泵驅動齒輪
C – 油泵驅動齒輪
D – 惰輪(上下惰輪)
E – 平衡軸1

1. 從齒輪上拆下四個沉頭 TORX® 螺釘 (A),同時使用T-40 TORX® 轉接器拆下機油泵。
注意: 在老式John Deere約翰迪爾強鹿柴油發動機 1 上,用兩個沉頭 TORXÆ 螺釘代替雙頭螺栓 (C)。
四氣門John Deere約翰迪爾強鹿柴油發動機用雙頭螺栓固定噴油泵和正時齒輪蓋。必要時拆卸。
2. 使用 E-8 TORXÆ 套筒扳手拆卸六個雙頭螺栓 (B)和 (C)
3. 拆卸前板 (D)。

4. 拆下機油旁通閥和彈簧。

重要提示: 所有表面都必須干凈,無油污。
5. 徹底清潔缸體前板。

測量John Deere約翰迪爾強鹿柴油發動機惰輪襯套和惰輪軸
1. 測量惰輪襯套內徑和惰輪軸外徑,確定油隙。如果油隙超過技術規格的要求,應更換磨損的零部件。
技術規格
上惰輪襯套(雙氣門John Deere約翰迪爾強鹿柴油發動機)(齒輪寬 30 毫米)-內徑 . . . . . . . . 69.802 - 69.832 毫米(2.7481 - 2.7493 英寸)
上惰輪襯套(雙氣門John Deere約翰迪爾強鹿柴油發動機)(齒輪寬 22 毫米)-內徑 . 44.49 - 44.54 毫米(1.751 - 1.753 英寸)
上惰輪襯套(四氣門John Deere約翰迪爾強鹿柴油發動機)-內徑 92.732 - 92.762 毫米(3.6509 - 3.6520 英寸)
下惰輪襯套-內徑. . . . . . 44.489 - 44.539 毫米(1.7515 - 1.7535 英寸)
上惰輪軸(雙氣門John Deere約翰迪爾強鹿柴油發動機)(齒輪寬 30 毫米)-外徑 . . . . . . . . 69.757 - 69.777 毫米(2.7463 - 2.7471 英寸)
上惰輪軸(雙氣門John Deere約翰迪爾強鹿柴油發動機)(齒輪寬 22 毫米)-外徑 . 44.43 - 44.46 毫米(1.749 - 1.750 英寸)
上惰輪軸(四氣門John Deere約翰迪爾強鹿柴油發動機)-外徑 92.687 - 92.707 毫米(3.6491 - 3.6499 英寸)
下惰輪軸-外徑. . . . . . . . 44.437 - 44.463 毫米(1.7495 - 1.7505 毫米)
上惰輪襯套到惰輪軸(雙氣門John Deere約翰迪爾強鹿柴油發動機)- 油隙 . . 0.075 - 0.125 毫米(0.0030 - 0.0049 英寸)
上惰輪襯套到惰輪軸(四氣門John Deere約翰迪爾強鹿柴油發動機)- 油隙 . 0.0025 - 0.075 毫米(0.0010 - 0.0030 英寸)
下惰輪襯套到惰輪軸-油隙 . . 0.026 - 0.102 毫米(0.0010 - 0.0040 英寸)
上惰輪-軸向間隙. . . . . . . . 0.070 - 0.170 毫米(0.0027 - 0.0066 英寸)
下惰輪-軸向間隙. . . . . . . . 0.070 - 0.330 毫米(0.0027 - 0.0129 英寸)
2. 如果本章上述測量過程中,惰輪軸向間隙不符合技術規格的要求,應從前板拆下惰輪軸和止推墊圈。(參見本章后面的“拆卸上下惰輪軸”部分。)

3. 檢查止推墊圈是否磨損。
4. 測量惰輪輪轂寬度和惰輪軸寬度。更換不符合技術規格要求的磨損零部件。
John Deere約翰迪爾強鹿柴油發動機凸輪軸、平衡軸和正時齒輪系
將噴油泵正時標記轉至更換的前板上(配備機械噴油泵的雙氣門John Deere約翰迪爾強鹿柴油發動機)重要提示: 用于更換的前板沒有噴油泵正時標記。將原前板正時標記精確地轉移到更換的前板上,準確地對應于噴油泵正時位置是非常重要的。
1. 如圖所示,將 DFRG5 鋁模板(B) 放到原前板(C)上。(詳細制作說明,參見第 05 部分第 190 章“經銷商制造工具”。)安裝和擰緊三個 3/8-16 帶帽螺釘。
2. 用直尺和細筆尖標記筆,把原前板噴油泵正時標記(A) 轉移到模板上。從更換的前板上取下模板。
3. 將模板(有正時標記)放到新更換的前板上,用帶帽螺釘固定。
4. 將模板上的正時標記用劃針刻到新前板上。畫線應足夠深,以使標記成為永久參考。
5. 拆下前板上的模板,安裝前板。(請參閱本章后面的“安裝缸體前板”部分。)

A – 正時標記
B – 鋁模板
C – 前板
安裝和正時John Deere約翰迪爾強鹿柴油發動機平衡軸(如果配備-四缸John Deere約翰迪爾強鹿柴油發動機)
1. 用 JDE81-1 或 JDE83 飛輪旋轉工具和 JDG1571 或JDE81-4 正時銷,將一號活塞鎖定在汽缸壓縮沖程上止點。
2. 用干凈的機油潤滑平衡軸襯套和軸頸。

注意: 平衡軸后部可以打印字母,標識平衡軸。
“R”或“RH” 代表右側軸。
“L”或“LH”代表左側軸。
3. 如圖所示,按齒輪正時標記標識左右平衡軸。
A – 右側軸(凸輪軸側)
B – 左側軸(噴油泵側)

重要提示: 平衡軸必須安裝在原來拆下的位置。顛倒平衡軸位置會造成平衡軸襯套和平衡軸過度磨損。如果懷疑軸的位置安裝不當,應重新安裝平衡軸和襯套。
4. 安裝平衡軸和止推板。按技術規格的要求擰緊止推板帶帽螺釘。
技術規格
平衡軸止推板帶帽螺釘-扭矩 . . . . . . 40 牛頓米(29.5 磅- 英尺)

重要提示: 確保配重裝到與鍵 (C) 相對的平衡軸側。
5. 新式John Deere約翰迪爾強鹿柴油發動機 1 的平衡軸裝有可拆卸配重。用新帶帽螺釘和螺母在平衡軸上安裝平衡軸配重。按技術規格的要求將其擰緊。
技術規格
平衡軸可拆卸配重(單螺栓配重)-扭矩 . . . . . . . . 58 牛頓米(43 磅- 英尺)
平衡軸可拆卸配重(雙螺栓配重)-扭矩 . . . . . . . . 40 牛頓米(30 磅- 英尺)
A – 配重
B – 螺栓(使用了 1 或 2 個)
C – 鍵
D – 螺母


6. 轉動右(凸輪軸側)平衡軸,使齒輪上的正時標記與 JD254A (JD-254A)1 正時工具 (A) 對齊。正確正時后,平衡軸齒輪上的正時標記必須對準曲軸中心線。
注意: 當John Deere約翰迪爾強鹿柴油發動機鎖定在一號汽缸活塞壓縮沖程上止點時,平衡軸齒輪上的鍵槽 (B) 必須處在 12 點鐘位置。
7. 用 TY6333 高溫潤滑脂涂抹惰輪襯套內徑和齒輪軸外徑。安裝下惰輪,不必轉動平衡軸。

重要提示: 不要用涂鋅硬件固定惰輪。如果帶帽螺釘涂了鋅,應換用涂硅酸鹽的新螺釘。關于相應的零件號,參見零件目錄。
注意: 安裝止推墊圈,“X” 標記背對齒輪。
8. 在下惰輪 (C) 和軸上安裝止推墊圈。
9. 潤滑帶帽螺釘,然后穿過惰輪軸裝到油泵外殼的螺紋支架上,只能用手擰緊。

10. 轉動左(噴油泵一側)平衡軸,使齒輪上的正時標記與 JD254A (JD-254A)1 正時工具 (A) 對齊。
11. 安裝油泵齒輪。用手擰緊齒輪鎖緊螺母。
12. 重新檢查兩個平衡軸的齒輪正時位置
A – 正時工具

13. 按技術規格要求擰緊油泵驅動齒輪鎖緊螺母。從三個位置 (B) 將螺母固定在軸上。(機油泵的安裝方法參見第 060 章“安裝John Deere約翰迪爾強鹿柴油發動機油泵”部分。)
技術規格
機油泵驅動驅動齒輪固定螺母-扭矩. . . . . 50 牛頓米(37 磅- 英尺)
14. 按技術規格要求將潤滑后的下惰輪帶帽螺釘擰緊。
技術規格
下惰輪帶帽螺釘(螺紋經過潤滑)- 扭矩 . . . . . . 70 牛頓米(53 磅- 英尺)
