珀金斯1104柴油機2645 K015R 噴油器、2644 N204燃油泵
項目 零配件號碼 最近的號碼 描述
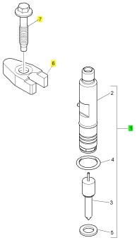
1 2645 K015 4 2645 K015 霧化器
(1) 2645 K015R 4 2645 K015R 噴油器 -交換
6 3751 A241 4 3751 A241 噴油器砂箱夾
7 2314 W009 4 2314 W009 螺旋

項目 零配件號碼 最近的號碼 描述
1 2644 N204 1 2644 N204 燃料噴射泵
(1) 2644 N204R 1 2644 N204R 燃料 INJ 泵 -EXCH
2 3117 N022 1 3117 N022 噴射泵傳動機構
3 2415 H548 1 2415 H548 密封 - O 的圈
3 2415787 1 2415787 密封 - O 的圈
4 2314 C044 4 2314 C044 固定螺釘
5 33114412 4 33114412 墊圈
6 2314 J002 1 2314 J002 螺旋
7 2314 H003 1 2314 H003 螺旋
8 2318 A603 1 2318 A603 螺帽
9 3641 A007 1 3641 A007 托架
10 2314 H004 3 2314 H004 螺旋
11 2411 D008 3 2411 D008 墊圈

項目 零配件號碼 最近的號碼 描述
2481 D221 1 2481 D221 夾
1 3525 A091 1 3525 A091 高壓燃油管 - 燃料 INJ 沒有 1 CYL
2 3525 A092 1 3525 A092 高壓燃油管 - 燃料 INJ 沒有 2 CYL
3 3525 A093 1 3525 A093 高壓燃油管 - 燃料 INJ 沒有 3 CYL
4 3525 A094 1 3525 A094 高壓燃油管 - 燃料 INJ 沒有 4 CYL
5 2481 Y011 2 2481 Y011 夾
6 2481 Y012 1 2481 Y012 夾
7 2646 E019 1 2646 E019 夾

項目 零配件號碼 最近的號碼 描述
1 2874 A018 1 2874 A018 溫度感應器
1 2874 A002 1 2874 A018 溫度感應器
2 2415 A036 1 2415 A036 密封 -感應器

項目 零配件號碼 最近的號碼 描述
1 2874 A018 1 2874 A018 溫度感應器
1 2874 A002 1 2874 A018 溫度感應器
2 2415 H003 1 2415 H003 密封 - O 的圈
3 U5MK1090 1 U5MK1090 氣壓感應器裝備
3 2415 H001 1 2415 H001 密封 - O 的圈
3 2874 A005 1 U5MK1073 感應器 31/07/2004
3 2874 A006 1 2874 A019 感應器 01/08/2004
3 1 氣壓感應器 01/08/2004

項目 零配件號碼 最近的號碼 描述
2 1 氣壓感應器
3 2415 H001 1 2415 H001 密封 - O 的圈

項目 零配件號碼 最近的號碼 描述
1 2874 A003 1 2874 A003 速度感應器
2 2415 H004 1 2415 H004 密封 -感應器
3 2314 H102 1 2314 H102 螺旋
4 U5MK1088 1 U5MK1088 油壓感應器裝備
4 2415 H002 1 2415 H002 密封 - O 的圈
4 2874 A004 1 U5MK1074 油壓感應器 31/07/2004
4 2874 A007 1 2874 A021 油壓感應器 01/08/2004
4 1 油壓感應器 01/08/2004

項目 零配件號碼 最近的號碼 描述
2 1 油壓感應器
3 2415 H002 1 2415 H002 密封 - O 的圈

項目 零配件號碼 最近的號碼 描述
1 2874 A100 1 2874 A100 引擎控制組件
2 3881 A005 4 3881 A005 架設
3 3881 A005 4 3881 A005 架設
4 2314 H008 4 2314 H008 螺旋
4 2314 H007 4 2314 H007 螺旋
5 3311 A015 2 3311 A015 墊圈
6 3313 A015 4 3313 A015 間隔器
7 2874 A108 1 29990073 伏特負載保護組件
7 2874 A105 1 29990073 伏特負載保護組件
7 2874 A107 1 29990073 伏特負載保護組件

項目 零配件號碼 最近的號碼 描述
1 3717 E282 1 3717 E282 油底殼
1 3717 E281 1 3717 E282 油底殼
2 3681 K036 1 3681 K036 密合墊 -油底殼
3 3627 P041 1 3627 P041 結橋塊
4 2311 D039 2 2311 D039 螺旋
5 3211 P013 2 3211 P013 圖釘
6 2318 A603 2 2318 A603 螺帽
7 32186405 2 32186405 栓塞
8 2415715 2 2415715 密封 - O 的圈
9 2314 H027 2 2314 H027 螺旋
9 2314 H023 2 2314 H023 螺旋
10 2314 H015 12 2314 H015 螺旋
11 2314 H026 2 2314 H026 螺旋
11 2314 H026 4 2314 H026 螺旋
12 2314 H025 2 2314 H025 螺旋
12 2314 H026 4 2314 H026 螺旋

項目 零配件號碼 最近的號碼 描述
1 3812 A026 1 3812 A026 HEATSHIELD
2 2314 F001 2 2314 F001 螺旋
3 2314 F006 1 2314 F006 螺旋

項目 零配件號碼 最近的號碼 描述
1 3788 N003 1 3788 N003 蓋
2 2314 F003 3 2314 F003 螺旋

項目 零配件號碼 最近的號碼 描述
1 T417478 1 T417478 CYL 冒口蓋 ASSY

項目 零配件號碼 最近的號碼 描述
2 1 汽缸蓋蓋
3 3681 A055 1 3681 A055 密合墊 -CYL。 冒口蓋
4 2161 A013 10 2161 A013 螺旋
5 3615 A034 1 3615 A034 板
6 3789 A004 1 3789 A004 密封 - O 的圈
7 2151 A001 4 2151 A001 螺旋

項目 零配件號碼 最近的號碼 描述
1 4134 W025 1 4134 W025 冷油器
1 4134 W021 1 4134 W025 冷油器

項目 零配件號碼 最近的號碼 描述
1 3773 A071 1 3773 A071 濾油器冒口
1 4134 E057 1 3773 A071 濾油器冒口
2 3688 A041 1 3688 A041 密合墊 - 濾油器的冒口
3 3773 A081 1 3773 A081 承接器
3 3766 A141 1 3773 A081 承接器
4 3688 A039 1 3688 A039 密合墊 - 濾油器的冒口
5 2314 H038 4 2314 H038 螺旋
6 3278 A007 1 3278 A007 栓塞
7 2415 H009 1 2415 H009 密封 - O 的圈
